Geajie logo
Productsdock shelter
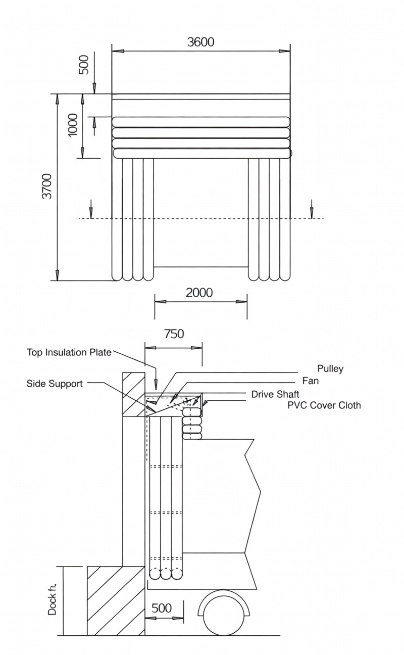
dock shelter 1

dock shelter

dock shelter

DSH Dock Shelters


Application Features
  • Suitable for a wider range of vehicle types, exert less pressure on the building wall, and various models are available to meet special requirements.


Retractable Frame Structure
  • The shelter frame is made of hot-dip galvanized steel with a section size of 60×30mm. The front and rear frames are connected by retractable parallel arms. When a truck approaches, the frame compresses; when the truck departs, it automatically returns to its original shape.


Side and Top PVC Curtains
  • The side and top curtains are made of 1mm thick polyester PVC (polyvinyl chloride) coated fabric, weighing 750 g/m².
  • Tensile Strength: 4000/4000 N/5cm
  • Tear Strength: 580/500 N


Face PVC Curtain
  • The front face is made of 3mm thick PVC panels reinforced with a double inner mesh layer. It offers excellent impact resistance, flexibility, and corrosion resistance.
  • Top Curtain Height: 1000mm
  • Side Curtain Width: 600mm
When a truck is docked for loading or unloading, the dock shelter wraps around the rear of the vehicle to ensure a tight seal and effective dust protection.



Standard Sizes
Standard Size (mm) Width Height Depth Front Passage Width Front Passage Height Top Curtain Length Side Curtain Width DSC 3400 3600 600 2200 2500 1000 600 Maximum door width is 3000mm. When the dock height is 1200mm, the dock shelter is suitable for trucks with a top height ranging from 3500mm to 4300mm.

High Sealing Performance for Uniform Truck Sizes
When truck sizes are consistent, the dock seal can provide highly efficient sealing performance.
Application Features
Suitable for loading docks with high sealing requirements, where truck sizes are relatively uniform and the building wall structure can withstand higher pressure.
Different top structure designs are available to accommodate varying truck heights, including:
Fixed type
Adjustable type
Curtain type
Structure and Foam
Constructed with galvanized steel backing plates lined with anti-corrosion wooden pads, ensuring the dock seal fits tightly against the building wall.
The interior of the dock seal is filled with high-density compression sponge, with a density of 30 kg/m³.
Cushion cross-section size: 300 mm × 300 mm
Dock Seal PVC Fabric
The dock seal curtain uses self-extinguishing PVC fabric with a weight of 800 g/m².
Reinforced pleats are added to both sides and the upper curtain, enabling the material to withstand long-term compression and abrasion.



Inflatable Dock Shelter


Suitable for environments requiring a high degree of sealing.


Application Features
  • Suitable for vehicles of various sizes and achieves an extremely high sealing effect. Especially ideal for cold storage facilities or locations with strict temperature control requirements, as well as for loading/unloading operations of long duration.


Structure and Figures
  • Composed of two vertical inflatable polyester fabric chambers and one horizontal inflatable polyester fabric top chamber. Inflation is powered by a 3-phase, 380V blower. A built-in counterweight recovery system enables deflation and retraction.
  • Inflation Time: 15 seconds
  • Deflation/Retraction Time: 15 seconds